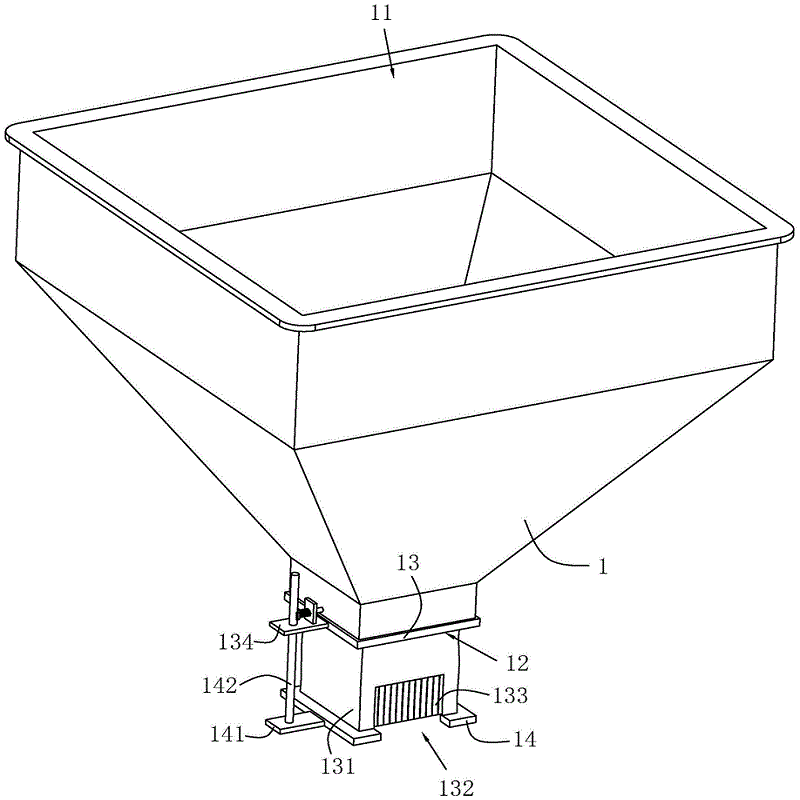
Thành phần máy làm gạch block

Máy trộn dòng PLD


Dành cho các dự án xây dựng, đường bộ và cầu


Mô hình PLD800 cho Máy làm gạch block Thành phần


Xả trung tâm cho điều kiện ẩm ướt


Màn hình xoay được cấp bằng sáng chế (tuổi thọ dài)


Xả băng tải với cân chính xác


Chi tiết sản phẩm

1. Quản lý Silo nguyên liệu thô tinh chế

Thiết kế kho lưu trữ phân chia thành nhiều ngăn, mỗi silo chứa một loại nguyên liệu thô cụ thể để ngăn ngừa lây nhiễm chéo giữa các vật liệu khác nhau.

Thiết bị theo dõi mức vật liệu (như máy đo mức radar) được lắp đặt để theo dõi lượng nguyên liệu thô còn lại trong silo theo thời gian thực, đảm bảo bổ sung kịp thời và ngăn ngừa tình trạng đổ quá đầy.

Thành phần máy làm gạch block

2. Kiểm soát định lượng thức ăn

Mỗi cửa xả silo đều được trang bị một thiết bị cấp liệu định lượng độc lập (như băng tải trục vít hoặc cân băng tải) để đong chính xác từng nguyên liệu thô.

Hệ thống điều khiển vòng kín sử dụng cảm biến lực để cung cấp phản hồi về lượng cấp liệu thực tế. Tốc độ thiết bị được tự động điều chỉnh sau khi so sánh với giá trị cài đặt, đảm bảo sai số tỷ lệ trong phạm vi ±0,5%.

3. Vận chuyển cốt liệu đa vật liệu

Nguyên liệu thô đầu ra từ mỗi thiết bị nạp liệu định lượng được vận chuyển đến thiết bị trộn thông qua băng tải hội tụ hoặc băng tải gạt. Tốc độ vận chuyển đồng đều được duy trì trong suốt quá trình vận chuyển để tránh tích tụ hoặc vỡ nguyên liệu.

Số seri

tên

Đặc điểm kỹ thuật

Số lượng

đơn vị

1

PLD1200

Kho bảo quản nguyên liệu

4m³

2

cá nhân

Màn hình rung

2800*2500

1

cá nhân

Thùng cân

0,8㎡

1

cá nhân

cảm biến

ZMLBF-1000

3

cá nhân

Động cơ

2,2KW

2

tháp

Động cơ lắc đá dăm

2,2KW

1

tháp

Băng tải

B500

3

dải

Khung

Kết cấu thép

1

bộ


Để lại tin nhắn của bạn

Những sảm phẩm tương tự

x

Sản phẩm phổ biến

x
x